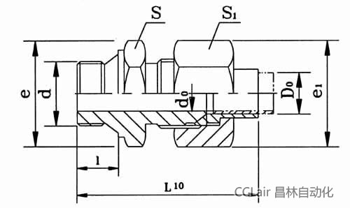
| 本標準適用于油、氣為介質的管路系統用擴口式端直通管接頭。 |
![]() |
標記示例:
管子外徑D0為10mm的擴口式端直通管接頭:
管接頭10 GB5625.1-85
|
管子外徑DO
|
d0
|
d
|
l
|
l1≈
|
e1
|
e
|
s1
|
s
|
重 量(kg/100件)
|
|
4
|
3
|
M10×1
|
8
|
31.5
|
15
|
17.3
|
13
|
15
|
2.99
|
|
5
|
3.5
|
3.5
|
|||||||
|
6
|
4
|
35.5
|
17.3
|
15
|
4.82
|
||||
|
8
|
6
|
M12×1.5
|
12
|
44
|
20.8
|
18.5
|
18
|
16
|
5.95
|
|
10
|
8
|
M14×1.5
|
45
|
24.2
|
20.8
|
21
|
18
|
7.86
|
|
|
12
|
10
|
M16×1.5
|
45.5
|
27.7 |
24.2
|
24
|
21
|
9.95
|
|
|
14
|
12
|
M18×1.5
|
31.2
|
27.7
|
27
|
24
|
18.3
|
||
|
16
|
14
|
M22×1.5
|
14
|
49
|
34.6
|
31.2
|
30
|
27
|
17.1
|
|
18
|
15
|
17.8
|
|||||||
|
20
|
17
|
M27×2
|
16
|
58.5
|
41.6
|
39.3
|
36
|
34
|
29.2
|
|
22
|
19
|
59.5
|
31.7
|
||||||
|
25
|
22
|
M33×2
|
18
|
64
|
47.3
|
47.3
|
41
|
41
|
42.5
|
|
28
|
24
|
66.6
|
53.1
|
46
|
50
|
||||
|
32
|
27
|
M42×2
|
20
|
71
|
57.7
|
57.7
|
50
|
50
|
67.7
|
|
34
|
30
|
71.5
|
68.3
|
客服熱線:




